
【最新專利】蘋果申請自家研製的「紙袋」專利,採用漂白磷酸鹽紙用料製作
蘋果經常申請自家設計的產品和技術專利,例如早前介紹過的無線充電相關專利、或是藍寶石塗層專利等等,免得遭到某些人控告自己抄襲嘛!可是,這次蘋果竟然連放置產品的「紙袋」都申請了專利,這個「紙袋」真的有這麼厲害嗎?
Photo from YouTube
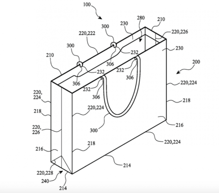
據外媒報導,蘋果在今年 3 月就提出這個專利申請,而美國專利及商標局(United States Patent and Trademark Office)近日就正式公開了相關詳細資料。這個紙袋的名字叫「Bag」,無論是名稱或設計都貫徹了蘋果一路以來的簡約作風。
它的主要用料是漂白磷酸鹽紙(White Solid Bleached Sulfate Paper),當中包含至少 60% 的消費性再生材料(Post-consumer Content)。為了增加紙張的強度,蘋果表示他們會加入強化部份,令這個紙袋更耐用和更環保。
相比目前的購物紙袋把手是由紙纖維而構成、令把手變得僵硬且不靈活,蘋果的購物紙袋把手則具有塑料中空織物管的手感和柔韌度,由大直徑針織紙纖維交替編織綿密圖案而成。
Photo from News Every Day
一個如此簡單的紙袋設計也能夠申請專利,甚至詳細描述了各個部份,真不愧是蘋果啊!如果哪天這個紙袋真的推出市面,大家一定要拿一個收藏一下。




