
【最新專利】蘋果新專利技術曝光:未來或許會推出「摺機iPhone」
蘋果最近公開了一項新專利技術,粉絲們看到之後可能會感到驚訝。按照專利資料顯示,他們未來也許會推出一款「摺機 iPhone 」。
Photo from IGN
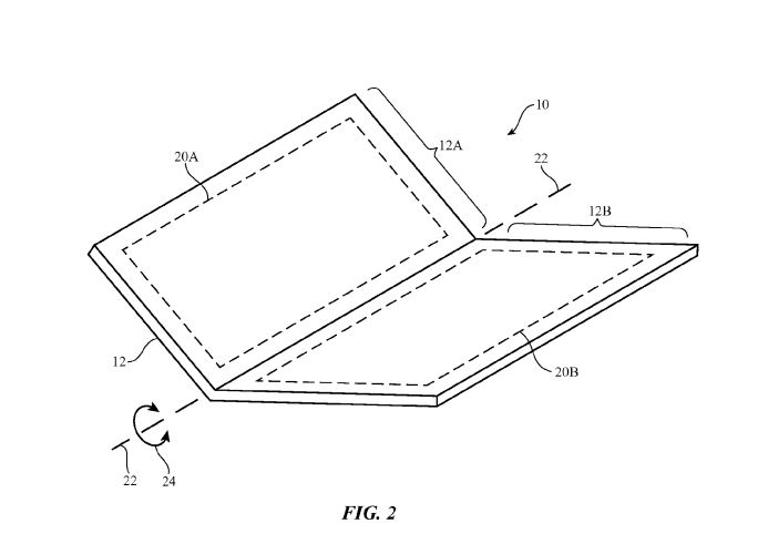
在專利圖片上可見到,蘋果以「 iPhone 」字眼進行描述,而不是如以往使用「電子裝置」一詞作出講解。此外,圖片也顯示出新 iPhone 會採用左右對摺的方式,與傳統摺機的上下對摺模式大大不同。
Photo from Patently Apple
該技術的特別之處是運用了「納米碳管」(Carbon Nanotubes)技術,製造可彎曲、可摺疊的手機。由於納米碳管具備不容易破裂和可以自由彎曲的特性,因此能夠與電話其他配件輕易組合起來。
Photo from Patently Apple
但是可預期「摺機 iPhone 」依然存在許多問題需要克服,例如其他配件如果不小心被彎曲,就可能會遭到損壞。
資料來源:Patently Apple




