
【保障自己】Apple成功為紙袋申請專利,專利期限長達15年
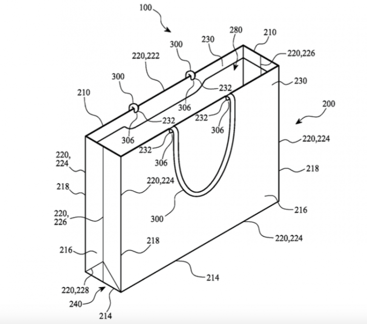
早在去年7月,Apple 已為「自家製紙袋」申請專利,直至今個月,Apple 正式申請成功,專利期限更長達15年。
Photo from Digital Trends
這次專利涉及22位申請人,設計團隊來自舊金山,當中更包括 Jony Ive。Apple 表示,一般紙袋摺疊位置都較脆弱,他們的設計能夠強化該位置,令紙袋不易破裂。Apple 申請專利並不表示他們要出售紙袋獲利,相信其申請目的,主要是保障公司權利,防止日後有人反告 Apple 侵權。
Photo from News Every Day
雖然有人認為沒必要浪費人力物力,大費周章替紙袋申請專利,不過為了保障自己,避免將來捲入專利糾紛,Apple 的做法確實不難理解。
資料來源:Slashgear




