
【秘密研發】蘋果摺叠式手機專利文件曝光,2014年已密謀研發
相信大家沒有想過在智能手機的年代會再見到摺叠式手機的出現。但在將來,這款紅極一時的手機設計也許要東山再起了。繼三星之後,蘋果一份摺叠式手機的設計專利文件近日曝光。
Photo from USPTO
科技網站AppleInsider日前撰文曝光蘋果一份2014年獲美國專利及商標局(U.S. Patent and Trademark Office)的專利文件。這份專利文件在2014年7月所提交,文件中列明Fletcher R. Rothkpf、Andrew J.M. Janis以及Teodor Dabov為概念設計者。文件編號為9504170。
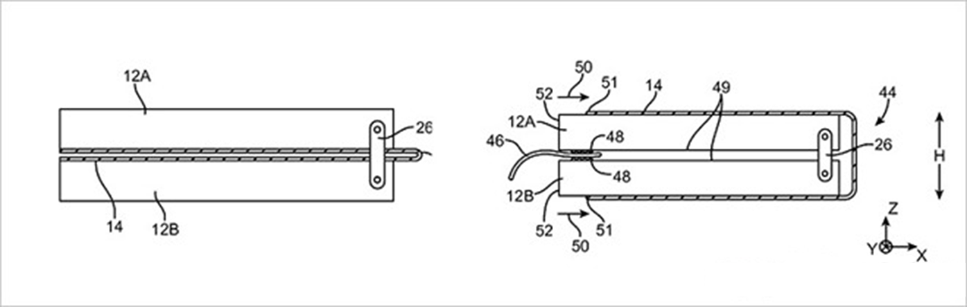
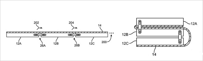
蘋果在這份專利文件中展示了一個可摺叠的全屏幕設計。這外表就像摩托羅拉在90年代所採用的設計,只是這次摺起的是一整個手機屏幕。從蘋果提交的設計圖中可見,申請專利的手機中間有一個鉸鏈位,容許屏幕做到完全對摺。此外,概念圖中也展示了充電插口位以及兩個側按鈕。
Photo from USPTO
要把這個設計實現出來,蘋果就得使用OLED顯示屏以及金屬機身構造。文件建議使用鎳鈦諾(nitinol)、由鎳和鈦所製成的合金為主要製造物料。這種合金具備彈性和獨特的形狀記憶能力,所以非常適合蘋果的這個概念。至於柔性聚合物也是一個適合這設計的物料。
Photo from USPTO
Photo from USPTO
在其他設計圖中可見,這概念分別用了兩個機殼所製成,並分成上下兩部分。這兩部分各自搭載獨立處理器、感應器以及其他組件。這兩部分將由鉸鏈連接,而内部更設有柔性電路板把上下部分的資料整合。蘋果在文件中更指出設計所用的摺叠式屏幕會包括兩個或以上的摺叠選項,意味著手機將容許用家把手機摺成不同形狀,方便使用。
其實以目前iPhone的演變進程來看,蘋果要推出摺叠式手機恐怕還是遙遙無期。但這專利說明了蘋果本來已經對開發摺叠式智能手機感到興趣,只是要見到這項設計面世的話還是需要等待一段相當長的時間。
資料來源:Apple Insider、USPTO




