
【最新專利】蘋果新技術「頭控運動耳機」:可透過頭部動作來進行指令
當大家還在等待 AirPods 的正式推出時,蘋果好像又在蠢蠢欲動的發明一些新東西。據外媒報導,美國專利及商標局(USPTO)早前發佈了蘋果的一項新專利,該技術或許會變出 AirPods 的進化版本,它就是:頭控運動耳機。
Photo from 9to5mac
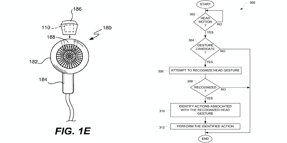
根據專利資料顯示,這個耳機可能是有線的、又可能是無線的。它可以收集用家的運動狀況和生物特徵數據,例如監測著用家的體溫、出汗狀況、心跳頻率等等。
用家亦可以透過頭部運動,來控制音樂播放或聲音大小。首先要記錄低指令動作,例如點頭就是播放音樂、向上看等於跳到下一首歌曲、把頭轉向左邊是提高音量、看著右邊則是調低聲音等等。
Photo from Mirror
此外,蘋果稱這個耳機除了在聆聽音樂上能夠發揮作用外,用家也可以進行如接聽或打出電話等通話相關的操作。
然而,由於蘋果的專利往往只有少部份能真的製成產品,並真的在市面上推出,因此這次的專利技術被一些外媒評為「頗似是而非」,還是先期待 AirPods 的出現比較實際。
資料來源:9to5Mac




