
【無人機送貨】亞馬遜成功為運輸標籤申請專利, 可於空中張開降落傘
亞馬遜(Amazon)開發Prime Air用無人機送貨已經眾所周知,而這電子商業巨人最近更成功申請專利,進一步開發這嶄新服務。
Photo from Amazon
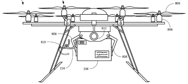
獲得專利的是一個内置降落傘的標籤。專利文件指出,這標籤將「確保空中無人機或空中載具能送出貨物」 。值得注意的是,亞馬遜早在2015年8月已經遞交專利文件,到日前才成功獲批。
Photo from Amazon
這系統的實際用途目前尚未明,但為尚在開發中的無人機送貨計劃帶來了多一個推測的角度。有外媒預測,這標籤或可將與感應器一同使用並整合成為一個追蹤貨物的系統。這系統更有可能整合成為一個估算運送成本的主要考量之一。
Photo from Amazon
亞馬遜自去年底以來已經在英國著手測試以無人機送貨,而3月更成功於美國完成首次正式公開測試。當時的測試中沒有展示利用降落傘把貨物運到地面,只是將無人機降落到地面再送出貨物。不過,亞馬遜在2月時就獲得了半空投放貨物專利,為服務研發帶來新進展。
Photo from Amazon
亞馬遜透露,Prime Air服務的最終目標是在30分鐘之内成功送出貨物。雖然已經逐漸獲得了所需的專利及基建,但亞馬遜目前仍需解決美國聯邦航空管理局的無人機監管法例,否則就不能推行這突破性的空中服務。
資料來源:Geekwire




