
【蘋果新專利】蘋果VR眼鏡專利曝光,擬加入虛擬實景市場
雖然蘋果近來最受關注的都是即將推出的iPhone 7。除了iPhone 7,蘋果又準備加入一個新戰場:虛擬實景(Virtual Reality)。
Photo from United States Patent and Trademark Office
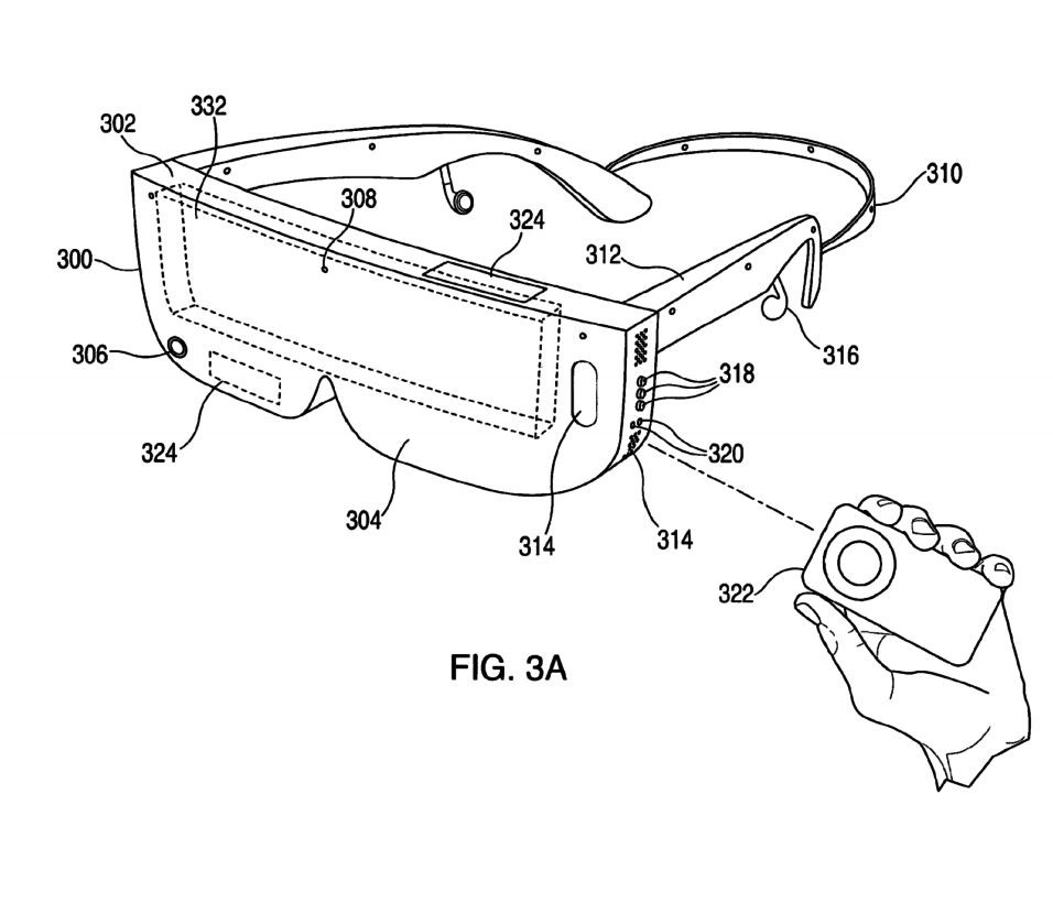
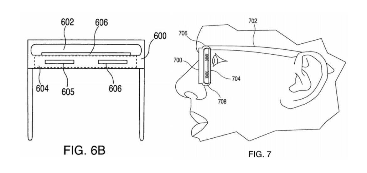
美國國家專利局日前在其官方網站公佈了一份蘋果申請專利的文件。文件指出,這項專利是一款「攜帶式頭部顯示電子設備」。文件中提交的示意圖中展示了一款可以放入蘋果手機的眼鏡。用家只要把手機放進眼鏡中間的空位就能觀看VR影像。這款眼鏡除了能放進蘋果手機,更備有把手機和眼鏡連接起來的Lightning接口。示意圖更展示了用家可用遙控操控眼鏡。就此看來,蘋果的VR眼鏡跟三星的Gear VR眼鏡有點相似。兩款裝置都能容許手機和VR裝置互相直接連接。根據文件中的描述,蘋果著重保護的就是直接把手機和VR眼鏡連接起來的功能。
Photo from United States Patent and Trademark Office
雖然這是個讓人興奮的消息,但以蘋果這樣規模的公司來説,研發以及製造原型產品的速度遠超實際生産以及發行的速度。正因發行需時,保護新產品的智慧產權遠比投入生産重要。雖然蘋果申請了專利,但這並不意味著我們很快就會看到這款眼鏡在市面上的出現。
Photo from United States Patent and Trademark Office
不過,這次申請專利更確認了Apple加入VR這個戰場的意圖。早在2013年,蘋果收購了研發微軟Kinect技術的公司PrimeSense。其後,蘋果更收購了開發增擴實景技術的新創MetaIO和專門開發臉部識別及動畫的新創Faceshift。蘋果CEO Tim Cook接受外媒訪問時亦曾提到VR技術有著一些有趣的應用方式。看來將來真的有可能看到蘋果自家的VR裝置。
資料來源:uploadvr




