
【終極防水大法】蘋果成功申請新專利,用聲波將水從手機中排出
蘋果又一份專利文件於上週四曝光。這份於年初遞交的文件詳述了一個可以將iPhone擴音器及耳機中的水彈出的機制。
Photo from Apple
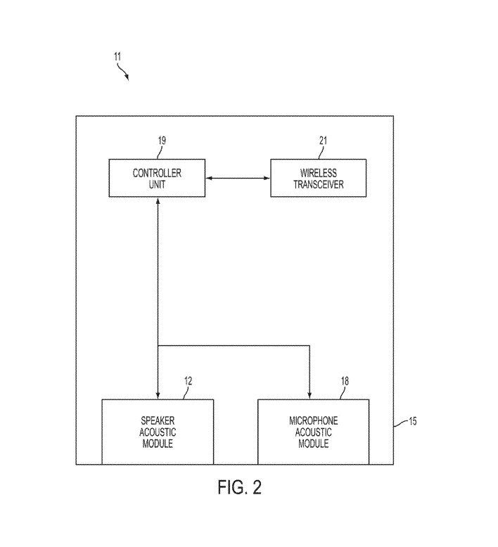
這功能與Apple Watch Series 2的「移除水分模式」(Eject Water Mode)類似,均用聲波彈走機身的水分。文件指出,這機制利用擴音器所發出的聲音訊號移除水分之外,更會偵測機身有否入水。
Photo from Apple
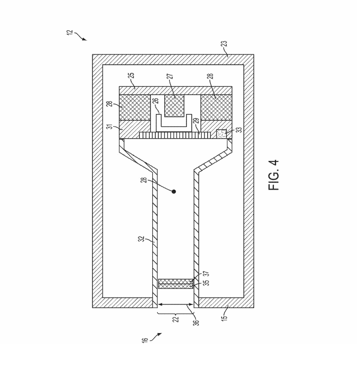
這機制分兩部分,第一部分為在手機喇叭蓋上塗上防水物料,而第二部分則使用手機聲室(acoustic chamber)的感應器去探測機身水分。文件指出,這感應器能以不同形式使用,能在探測到水分之後發出一股聲波,把水分彈出。

Photo from Apple
雖然iPhone 7和iPhone 7 Plus都已經採用防水設計,但加入這功能能有效防止用家的手機插口、咪高峰等部分滲水。此外,成功申請專利也不代表這功能會在iPhone 8甚至未來的裝置上出現。不過,這實用性十足的功能聽起來已教人相當期待。




